CM-UKFLX05D1-

Time:2025-11-25Edit:JFU Bearing
CM-UKFLX05D1

CM-UKFLX05D1

/uploads/pic/2ez4jgubb1r1767_20251120170402.webp

CM-UKFLX05D1

Designations

CM-UKFLX05D1

Included products

Bearing UKX05D1 Bearing
Housing FLX05D1 Housing

Associated products

Adapter sleeve H2305X Adapter sleeve

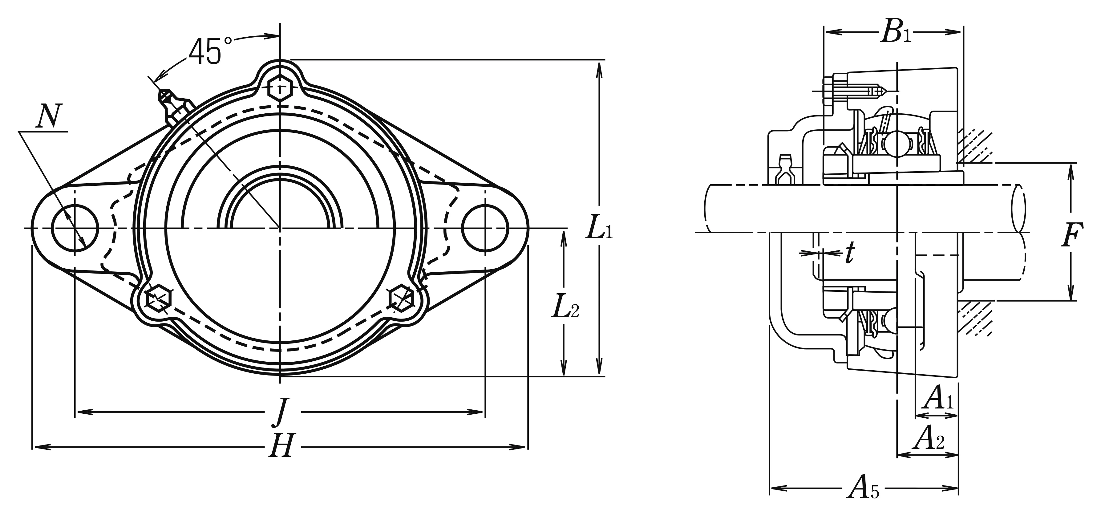
Nominal Dimensions

d 20 mm Bore diameter
L,L1 86 mm Overall height
J 117 mm Distance between attachment bolts
N 18 mm Diameter of attachment bolt hole
A2 18 mm Flange width
A1 13 mm Flange width
B,B1,B2 35 mm Width of inner ring
t 2 mm Clearance
H 141 mm Overall length
L2 41.5 mm Height of spherical seat centre

Mounting information

G M10 Bolt size

Basic Load Ratings

Cr 19.5 kN Basic dynamic load rating
C0r 11.3 kN Basic static load rating

Mass

mass 1.2 kg Mass approx.

Questions?

We are here to help.

admin@jfubearing.com

Get expert sales advice within 12 hours.

💬

+86-15961837791

Chat with us now for a quick response.

Contact us now to get a free quote or estimate.