UKS212LN Series-

Time:2025-11-25Edit:JFU Bearing
UKS212LN Series

UKS212LN Series

/uploads/pic/x53o2gyfiuq2695_20251120215108.webp

UKS212LN Series

Designations

UKS212LN

Included products

Bearing UKS212LN Bearing

Associated products

Adapter sleeve H2312X Adapter sleeve

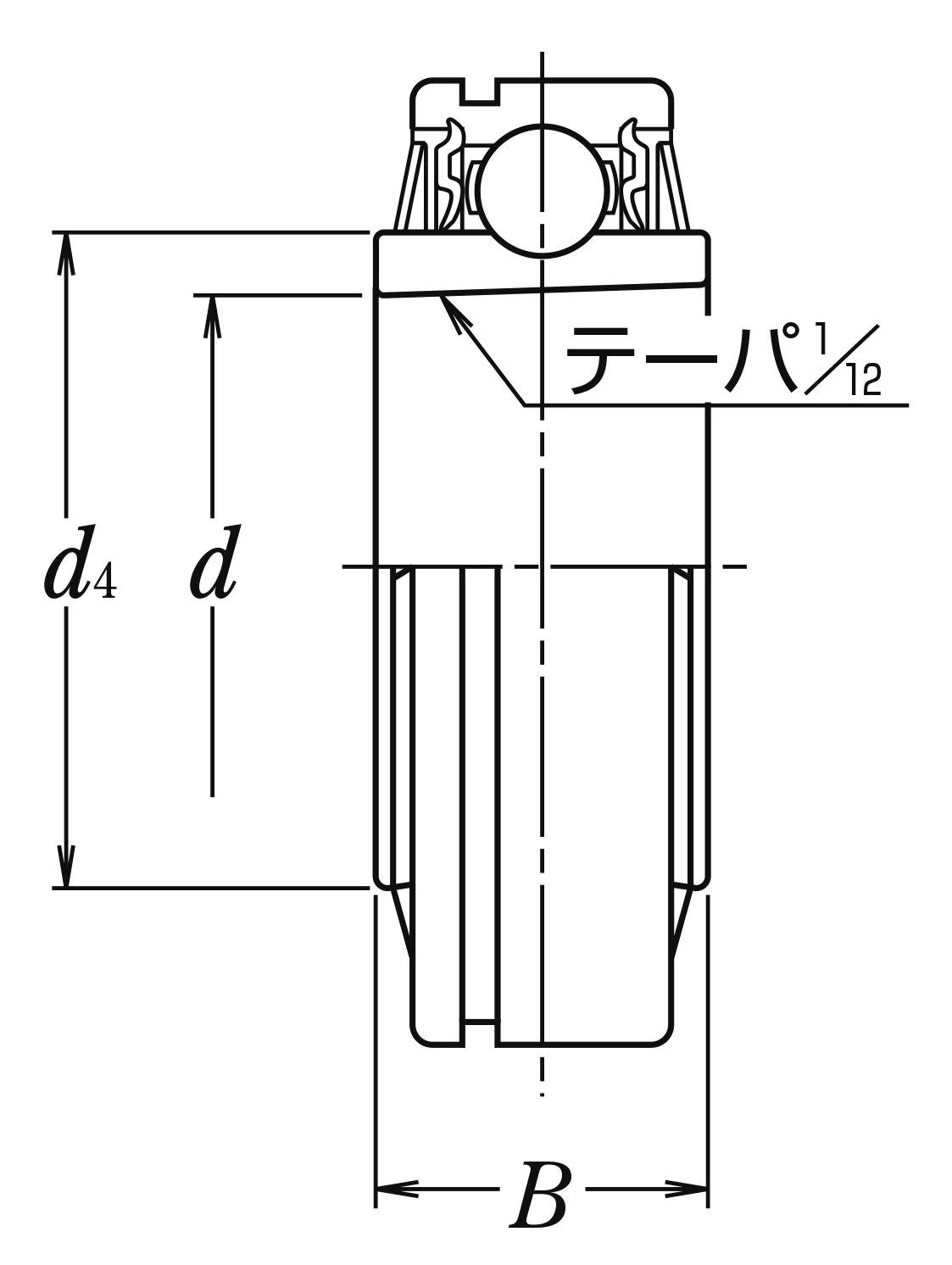
Nominal Dimensions

d 60 mm Bore diameter
D 110 mm Outside diameter
B1 62 mm Overall bearing width
d1 55 mm Sleeve bore diameter
d2 80 mm Outside diameter lock nut
B,B4 38 mm Width of inner ring
B2 13 mm Width lock nut including lock washer
C 27 mm Outer ring width
r(min.) 2 mm Chamfer dimension
d4 77 mm Outside diameter of inner ring
D1 106.81 mm Diameter of snap ring groove
a 4.4 mm Distance outer ring from side face to snap ring groove
b 2.85 mm Width of snap ring groove

Basic Load Ratings

Cr 52.5 kN Basic dynamic load rating
C0r 36 kN Basic static load rating

Mass

Mass approx. 1.59 kg Mass approx.

Questions?

We are here to help.

admin@jfubearing.com

Get expert sales advice within 12 hours.

💬

+86-15961837791

Chat with us now for a quick response.

Contact us now to get a free quote or estimate.