CM-UKFL326D1-

Time:2025-11-25Edit:JFU Bearing
CM-UKFL326D1

CM-UKFL326D1

/uploads/pic/acu4ctkfq232263_20251120193648.webp

CM-UKFL326D1

Designations

CM-UKFL326D1

Included products

Bearing UK326D1 Bearing
Housing FL326D1 Housing

Associated products

Adapter sleeve H2326 Adapter sleeve

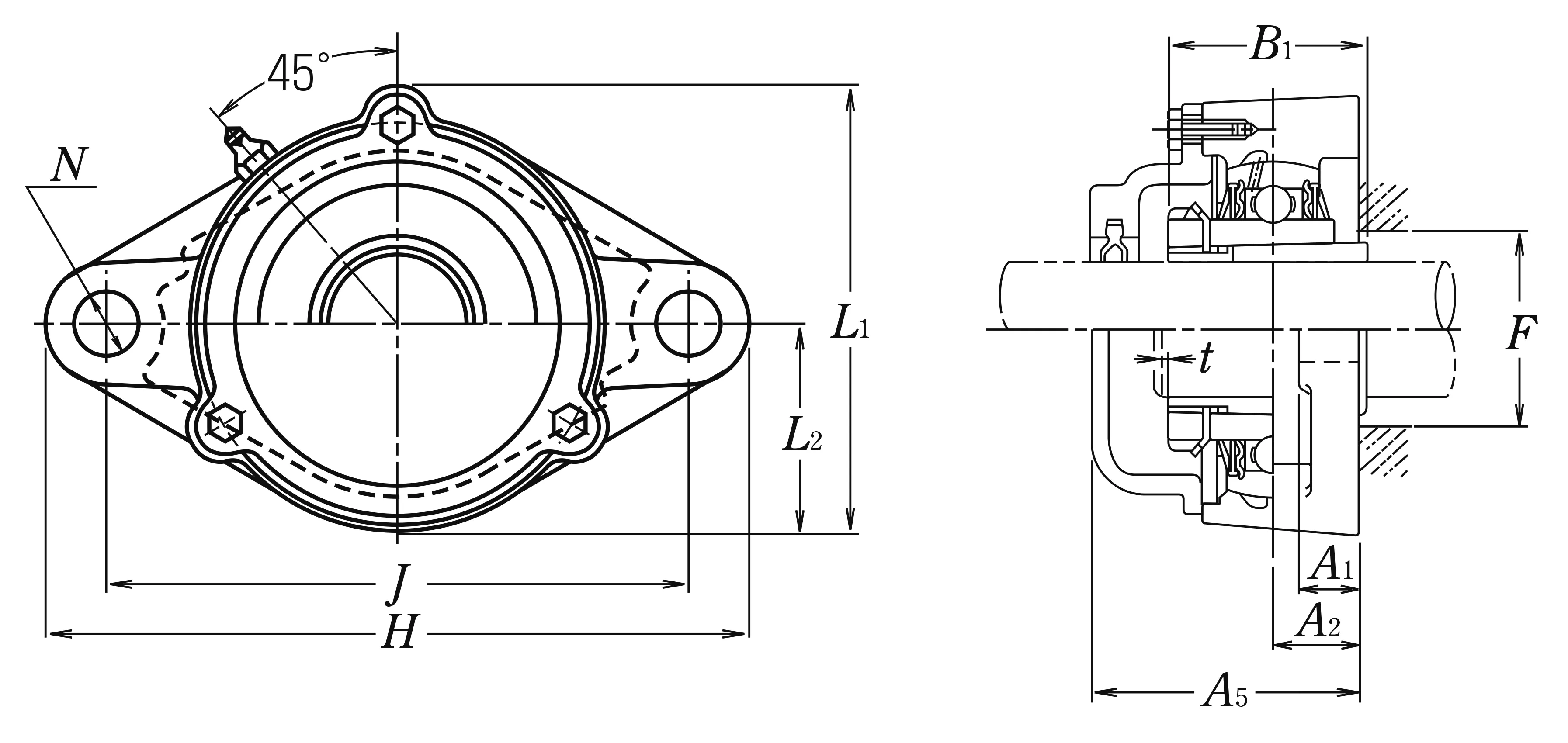
Nominal Dimensions

d 115 mm Bore diameter
L,L1 376 mm Overall height
J 460 mm Distance between attachment bolts
N 47 mm Diameter of attachment bolt hole
A2 65 mm Flange width
A1 50 mm Flange width
A5 178 mm Width including end cover
B,B1,B2 121 mm Width of inner ring
t 6 mm Clearance
H 550 mm Overall length
L2 180 mm Height of spherical seat centre

Mounting information

G M42 Bolt size

Basic Load Ratings

Cr 229 kN Basic dynamic load rating
C0r 214 kN Basic static load rating

Mass

mass 65 kg Mass approx.

Questions?

We are here to help.

admin@jfubearing.com

Get expert sales advice within 12 hours.

💬

+86-15961837791

Chat with us now for a quick response.

Contact us now to get a free quote or estimate.