CM-UKFL324D1-

Time:2025-11-25Edit:JFU Bearing
CM-UKFL324D1

CM-UKFL324D1

/uploads/pic/k552zbk4a0d2257_20251120193426.webp

CM-UKFL324D1

Designations

CM-UKFL324D1

Included products

Bearing UK324D1 Bearing
Housing FL324D1 Housing

Associated products

Adapter sleeve H2324 Adapter sleeve

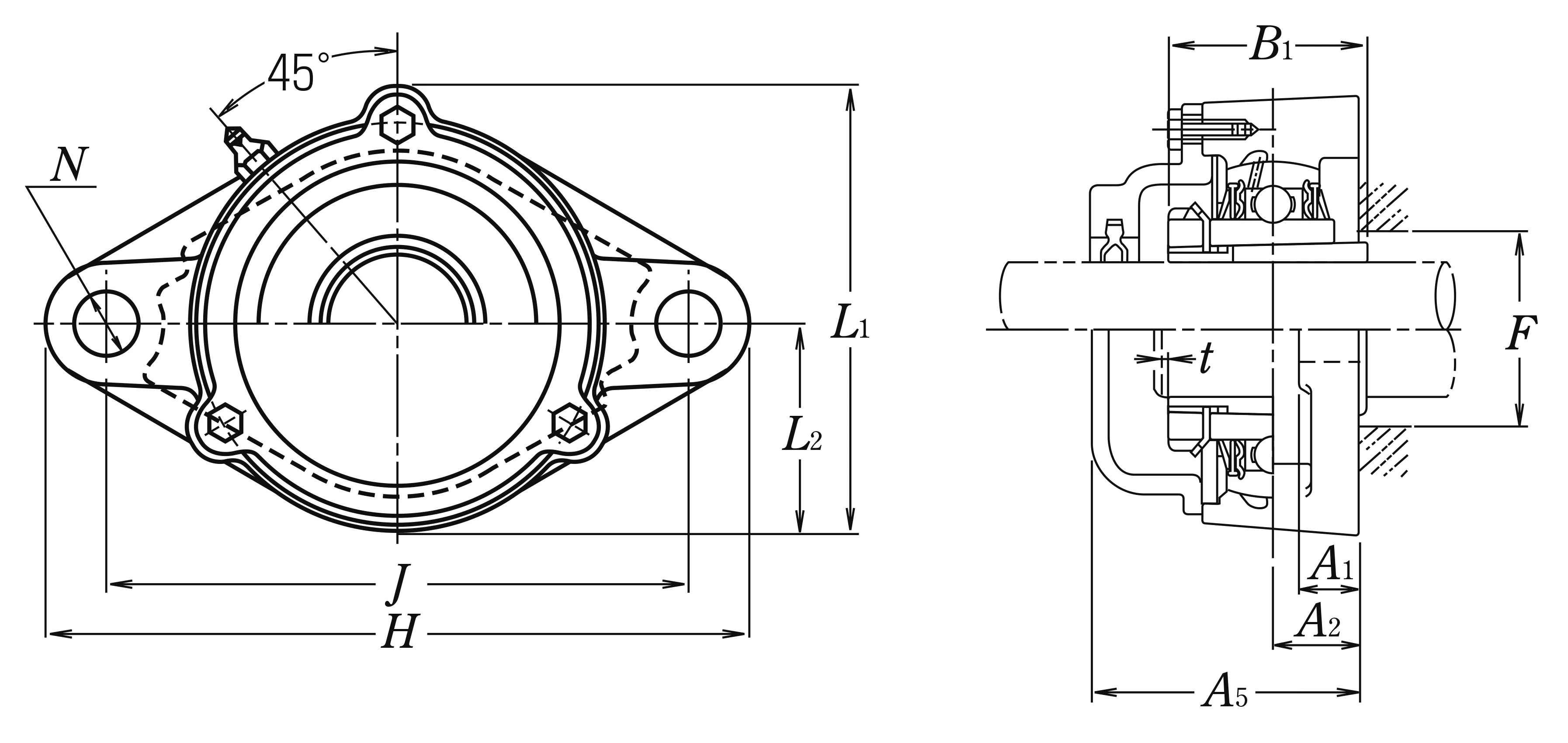
Nominal Dimensions

d 110 mm Bore diameter
L,L1 342 mm Overall height
J 430 mm Distance between attachment bolts
N 47 mm Diameter of attachment bolt hole
A2 65 mm Flange width
A1 48 mm Flange width
A5 172 mm Width including end cover
B,B1,B2 112 mm Width of inner ring
t 5 mm Clearance
H 520 mm Overall length
L2 165 mm Height of spherical seat centre

Mounting information

G M42 Bolt size

Basic Load Ratings

Cr 207 kN Basic dynamic load rating
C0r 185 kN Basic static load rating

Mass

mass 52 kg Mass approx.

Questions?

We are here to help.

admin@jfubearing.com

Get expert sales advice within 12 hours.

💬

+86-15961837791

Chat with us now for a quick response.

Contact us now to get a free quote or estimate.