CM-UKFL320D1-

Time:2025-11-25Edit:JFU Bearing
CM-UKFL320D1

CM-UKFL320D1

/uploads/pic/gugvvadr5ye2221_20251120192245.webp

CM-UKFL320D1

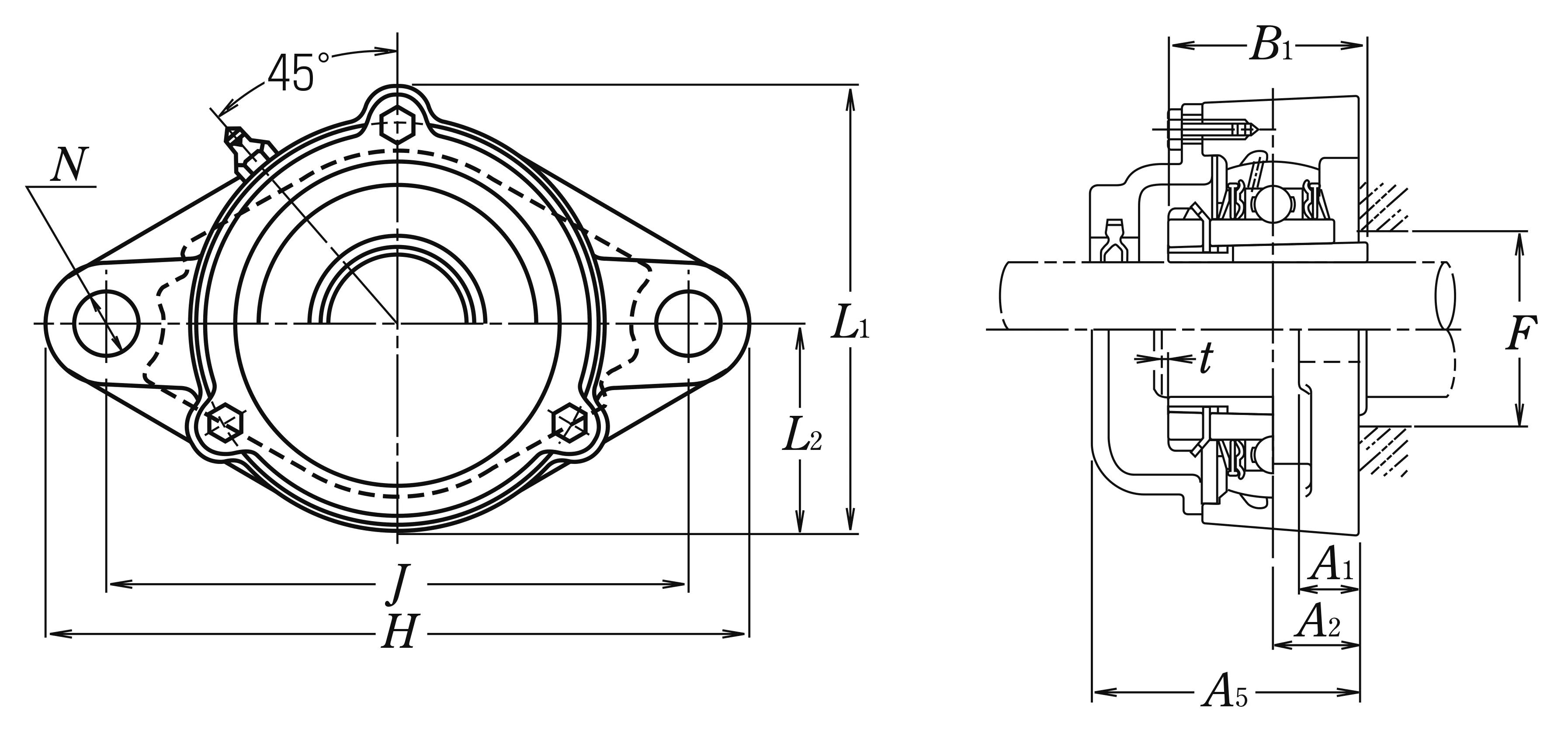
Designations

CM-UKFL320D1

Included products

Bearing UK320D1 Bearing
Housing FL320D1 Housing

Associated products

Adapter sleeve H2320X Adapter sleeve

Nominal Dimensions

d 90 mm Bore diameter
L,L1 280 mm Overall height
J 360 mm Distance between attachment bolts
N 44 mm Diameter of attachment bolt hole
A2 59 mm Flange width
A1 40 mm Flange width
A5 154 mm Width including end cover
B,B1,B2 97 mm Width of inner ring
t 5 mm Clearance
H 440 mm Overall length
L2 135 mm Height of spherical seat centre

Mounting information

G M39 Bolt size

Basic Load Ratings

Cr 173 kN Basic dynamic load rating
C0r 141 kN Basic static load rating

Mass

mass 32 kg Mass approx.

Questions?

We are here to help.

admin@jfubearing.com

Get expert sales advice within 12 hours.

💬

+86-15961837791

Chat with us now for a quick response.

Contact us now to get a free quote or estimate.