CM-UKFL218D1-

Time:2025-11-25Edit:JFU Bearing
CM-UKFL218D1

CM-UKFL218D1

/uploads/pic/0j2bebhkeis2173_20251120191154.webp

CM-UKFL218D1

Designations

CM-UKFL218D1

Included products

Bearing UK218D1 Bearing
Housing FL218D1 Housing

Associated products

Adapter sleeve H2318X Adapter sleeve

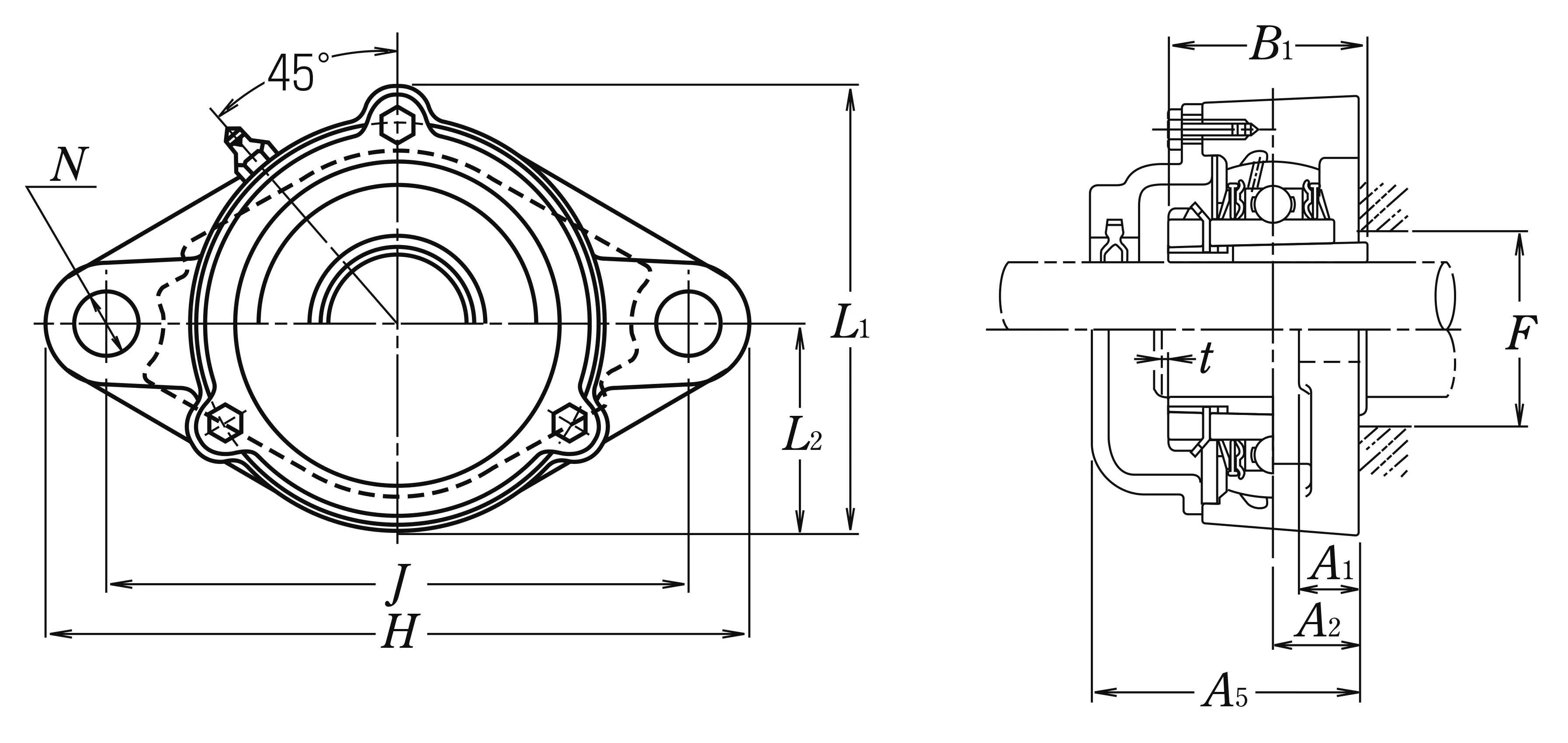
Nominal Dimensions

d 80 mm Bore diameter
L,L1 205 mm Overall height
J 265 mm Distance between attachment bolts
N 25 mm Diameter of attachment bolt hole
A2 40 mm Flange width
A1 24 mm Flange width
A5 122 mm Width including end cover
B,B1,B2 86 mm Width of inner ring
F 102 mm Diameter of housing abutment
t 5 mm Clearance
H 320 mm Overall length
L2 102.5 mm Height of spherical seat centre

Mounting information

G M22 Bolt size

Basic Load Ratings

Cr 96 kN Basic dynamic load rating
C0r 71.5 kN Basic static load rating

Mass

mass 13 kg Mass approx.

Questions?

We are here to help.

admin@jfubearing.com

Get expert sales advice within 12 hours.

💬

+86-15961837791

Chat with us now for a quick response.

Contact us now to get a free quote or estimate.