CM-UKFL216D1-

Time:2025-11-25Edit:JFU Bearing
CM-UKFL216D1

CM-UKFL216D1

/uploads/pic/e5o4vg3cnrx2125_20251120190228.webp

CM-UKFL216D1

Designations

CM-UKFL216D1

Included products

Bearing UK216D1 Bearing
Housing FL216D1 Housing

Associated products

Adapter sleeve H2316X Adapter sleeve

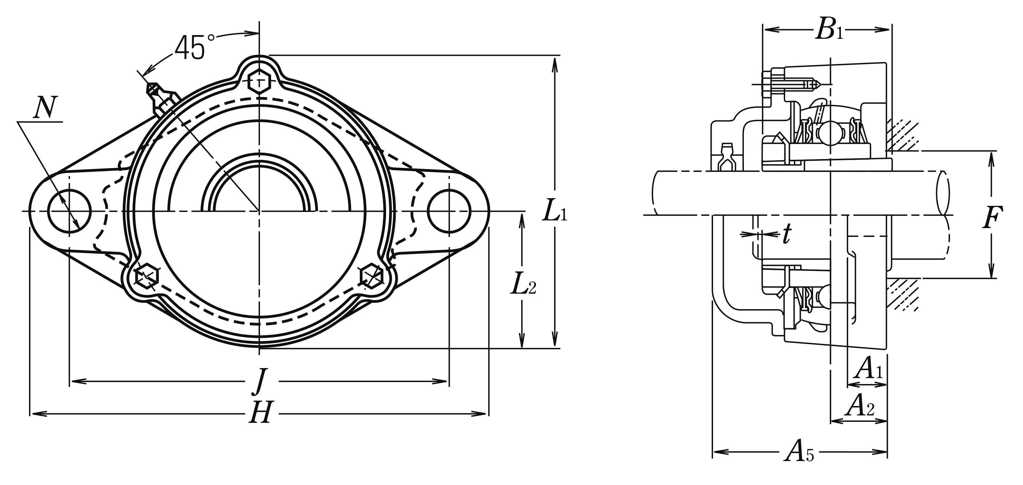
Nominal Dimensions

d 70 mm Bore diameter
L,L1 183 mm Overall height
J 233 mm Distance between attachment bolts
N 34 mm Diameter of attachment bolt hole
A2 34 mm Flange width
A1 22 mm Flange width
A5 106 mm Width including end cover
B,B1,B2 78 mm Width of inner ring
F 90 mm Diameter of housing abutment
t 4 mm Clearance
H 290 mm Overall length
L2 90 mm Height of spherical seat centre

Mounting information

G M22 Bolt size

Basic Load Ratings

Cr 72.5 kN Basic dynamic load rating
C0r 53 kN Basic static load rating

Mass

mass 9.3 kg Mass approx.

Questions?

We are here to help.

admin@jfubearing.com

Get expert sales advice within 12 hours.

💬

+86-15961837791

Chat with us now for a quick response.

Contact us now to get a free quote or estimate.