CM-UKFL215D1-

Time:2025-11-25Edit:JFU Bearing
CM-UKFL215D1

CM-UKFL215D1

/uploads/pic/ii1dpy0jord2101_20251120185734.webp

CM-UKFL215D1

Designations

CM-UKFL215D1

Included products

Bearing UK215D1 Bearing
Housing FL215D1 Housing

Associated products

Adapter sleeve H2315X Adapter sleeve

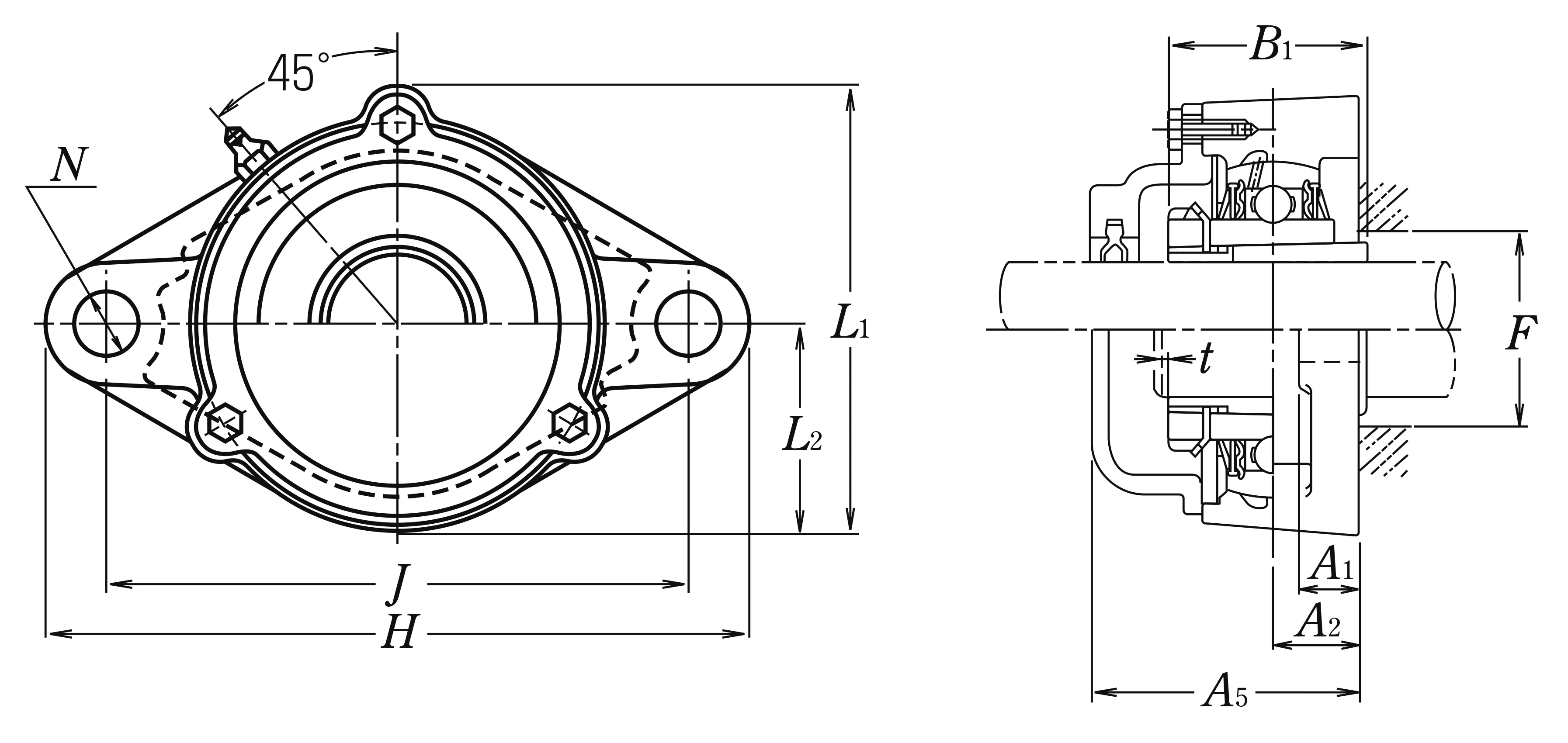
Nominal Dimensions

d 65 mm Bore diameter
L,L1 169 mm Overall height
J 225 mm Distance between attachment bolts
N 34 mm Diameter of attachment bolt hole
A2 34 mm Flange width
A1 22 mm Flange width
A5 102 mm Width including end cover
B,B1,B2 73 mm Width of inner ring
F 84 mm Diameter of housing abutment
t 4 mm Clearance
H 275 mm Overall length
L2 82.5 mm Height of spherical seat centre

Mounting information

G M20 Bolt size

Basic Load Ratings

Cr 66 kN Basic dynamic load rating
C0r 49.5 kN Basic static load rating

Mass

mass 7.6 kg Mass approx.

Questions?

We are here to help.

admin@jfubearing.com

Get expert sales advice within 12 hours.

💬

+86-15961837791

Chat with us now for a quick response.

Contact us now to get a free quote or estimate.