C-UKFL310D1-

Time:2025-11-25Edit:JFU Bearing
C-UKFL310D1

C-UKFL310D1

/uploads/pic/53owxm034v31959_20251120181858.webp

C-UKFL310D1

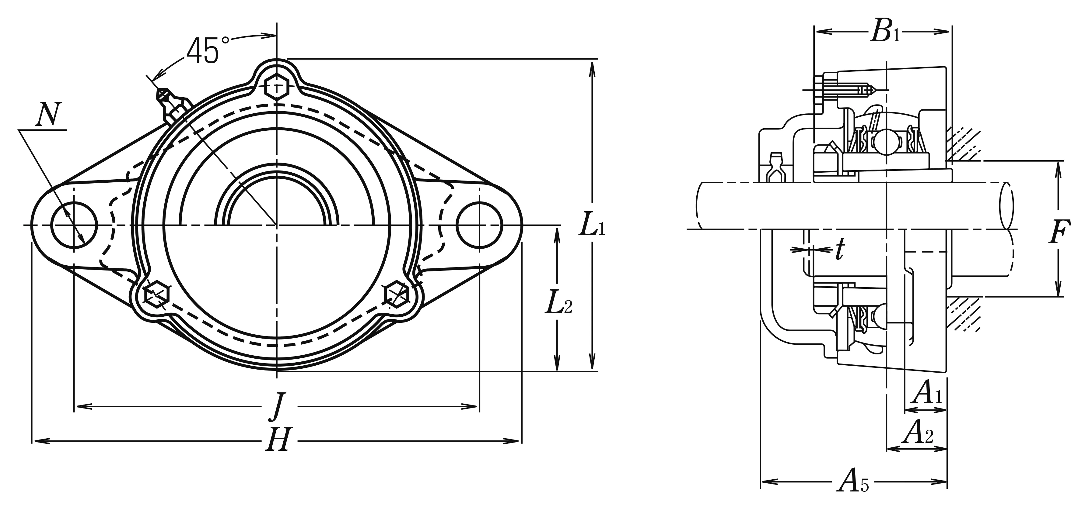
Designations

C-UKFL310D1

Included products

Bearing UK310D1 Bearing
Housing FL310D1 Housing

Associated products

Adapter sleeve H2310X Adapter sleeve

Nominal Dimensions

d 45 mm Bore diameter
L,L1 152 mm Overall height
J 187 mm Distance between attachment bolts
N 28 mm Diameter of attachment bolt hole
A2 28 mm Flange width
A1 19 mm Flange width
A5 88 mm Width including end cover
B,B1,B2 55 mm Width of inner ring
t 3 mm Clearance
H 240 mm Overall length
L2 70 mm Height of spherical seat centre

Mounting information

G M22 Bolt size

Basic Load Ratings

Cr 62 kN Basic dynamic load rating
C0r 38.5 kN Basic static load rating

Mass

mass 5.1 kg Mass approx.

Questions?

We are here to help.

admin@jfubearing.com

Get expert sales advice within 12 hours.

💬

+86-15961837791

Chat with us now for a quick response.

Contact us now to get a free quote or estimate.