UKS210LN Series-

Time:2025-11-25Edit:JFU Bearing
UKS210LN Series

UKS210LN Series

/uploads/pic/3nciszcngox2615_20251120213537.webp

UKS210LN Series

Designations

UKS210LN

Included products

Bearing UKS210LN Bearing

Associated products

Adapter sleeve H2310X Adapter sleeve

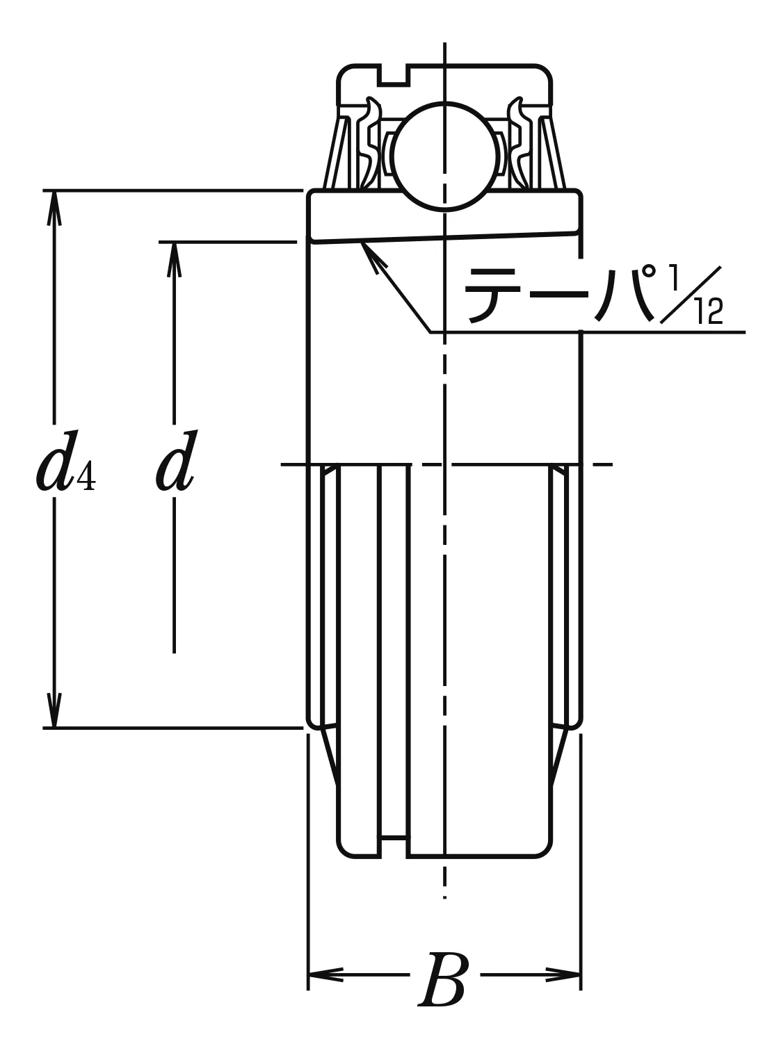
Nominal Dimensions

d 50 mm Bore diameter
D 90 mm Outside diameter
B1 55 mm Overall bearing width
d1 45 mm Sleeve bore diameter
d2 70 mm Outside diameter lock nut
B,B4 32 mm Width of inner ring
B2 12 mm Width lock nut including lock washer
C 24 mm Outer ring width
r(min.) 1.5 mm Chamfer dimension
d4 62.4 mm Outside diameter of inner ring
D1 86.79 mm Diameter of snap ring groove
a 3.7 mm Distance outer ring from side face to snap ring groove
b 2.85 mm Width of snap ring groove

Basic Load Ratings

Cr 35 kN Basic dynamic load rating
C0r 23.2 kN Basic static load rating

Mass

Mass approx. 0.97 kg Mass approx.

Questions?

We are here to help.

admin@jfubearing.com

Get expert sales advice within 12 hours.

💬

+86-15961837791

Chat with us now for a quick response.

Contact us now to get a free quote or estimate.