UKS207LN Series-

Time:2025-11-25Edit:JFU Bearing
UKS207LN Series

UKS207LN Series

/uploads/pic/ukmjimsrkmu2479_20251120210322.webp

UKS207LN Series

Designations

UKS207LN

Included products

Bearing UKS207LN Bearing

Associated products

Adapter sleeve H2307X Adapter sleeve

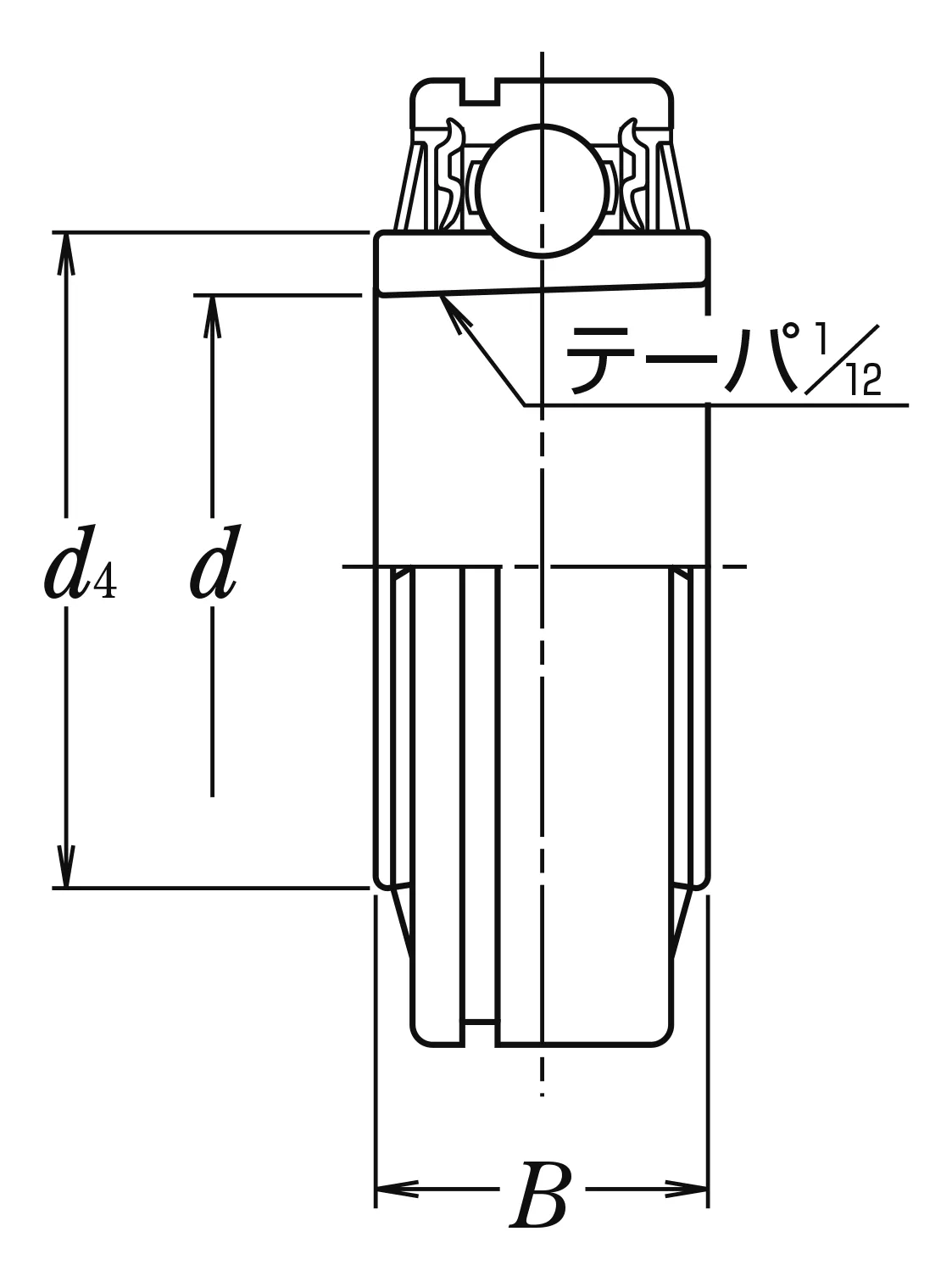
Nominal Dimensions

d 35 mm Bore diameter
D 72 mm Outside diameter
B1 43 mm Overall bearing width
d1 30 mm Sleeve bore diameter
d2 52 mm Outside diameter lock nut
B,B4 29 mm Width of inner ring
B2 9 mm Width lock nut including lock washer
C 20 mm Outer ring width
r(min.) 1.5 mm Chamfer dimension
d4 46.8 mm Outside diameter of inner ring
D1 68.81 mm Diameter of snap ring groove
a 3.3 mm Distance outer ring from side face to snap ring groove
b 2.05 mm Width of snap ring groove

Basic Load Ratings

Cr 25.7 kN Basic dynamic load rating
C0r 15.3 kN Basic static load rating

Mass

Mass approx. 0.57 kg Mass approx.

Questions?

We are here to help.

admin@jfubearing.com

Get expert sales advice within 12 hours.

💬

+86-15961837791

Chat with us now for a quick response.

Contact us now to get a free quote or estimate.