CM-UKP308D1-

Time:2025-11-25Edit:JFU Bearing
CM-UKP308D1

CM-UKP308D1

/uploads/pic/mthxuqmr25i977_20251120124122.webp

CM-UKP308D1

Designations

CM-UKP308D1

Included products

Bearing UK308D1 Bearing
Housing P308D1 Housing

Associated products

Adapter sleeve H2308X Adapter sleeve

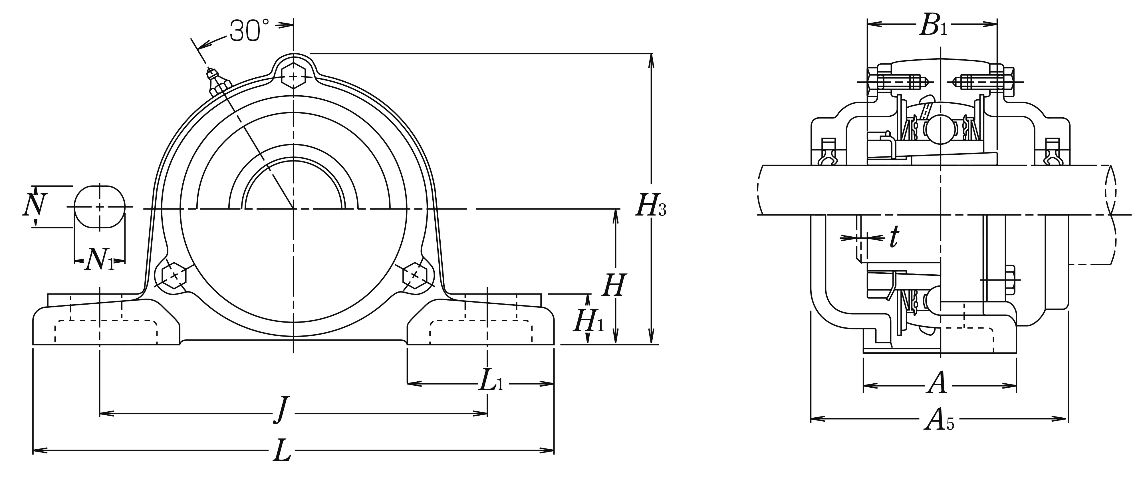
Nominal Dimensions

d 35 mm Bore diameter
N1 27 mm Length of attachment bolt hole
L 220 mm Overall length
H 60 mm Height of spherical seat centre
H3 125 mm Overall height
J 170 mm Distance between attachment bolts
N 17 mm Diameter of attachment bolt hole
A 60 mm Base width
A5 105 mm Width including end cover
t 3 mm Clearance
H1 22 mm Distance between bottoms of piloting grooves
B1 46 mm Width of inner ring
L1 60 mm Foot width

Mounting information

G M14 Bolt size

Basic Load Ratings

Cr 40.5 kN Basic dynamic load rating
C0r 24 kN Basic static load rating

Mass

mass 4.2 kg Mass approx.

Questions?

We are here to help.

admin@jfubearing.com

Get expert sales advice within 12 hours.

💬

+86-15961837791

Chat with us now for a quick response.

Contact us now to get a free quote or estimate.