CM-UKFL312D1-

Time:2025-11-25Edit:JFU Bearing
CM-UKFL312D1

CM-UKFL312D1

/uploads/pic/mrdcqzy0e322049_20251120184050.webp

CM-UKFL312D1

Designations

CM-UKFL312D1

Included products

Bearing UK312D1 Bearing
Housing FL312D1 Housing

Associated products

Adapter sleeve H2312X Adapter sleeve

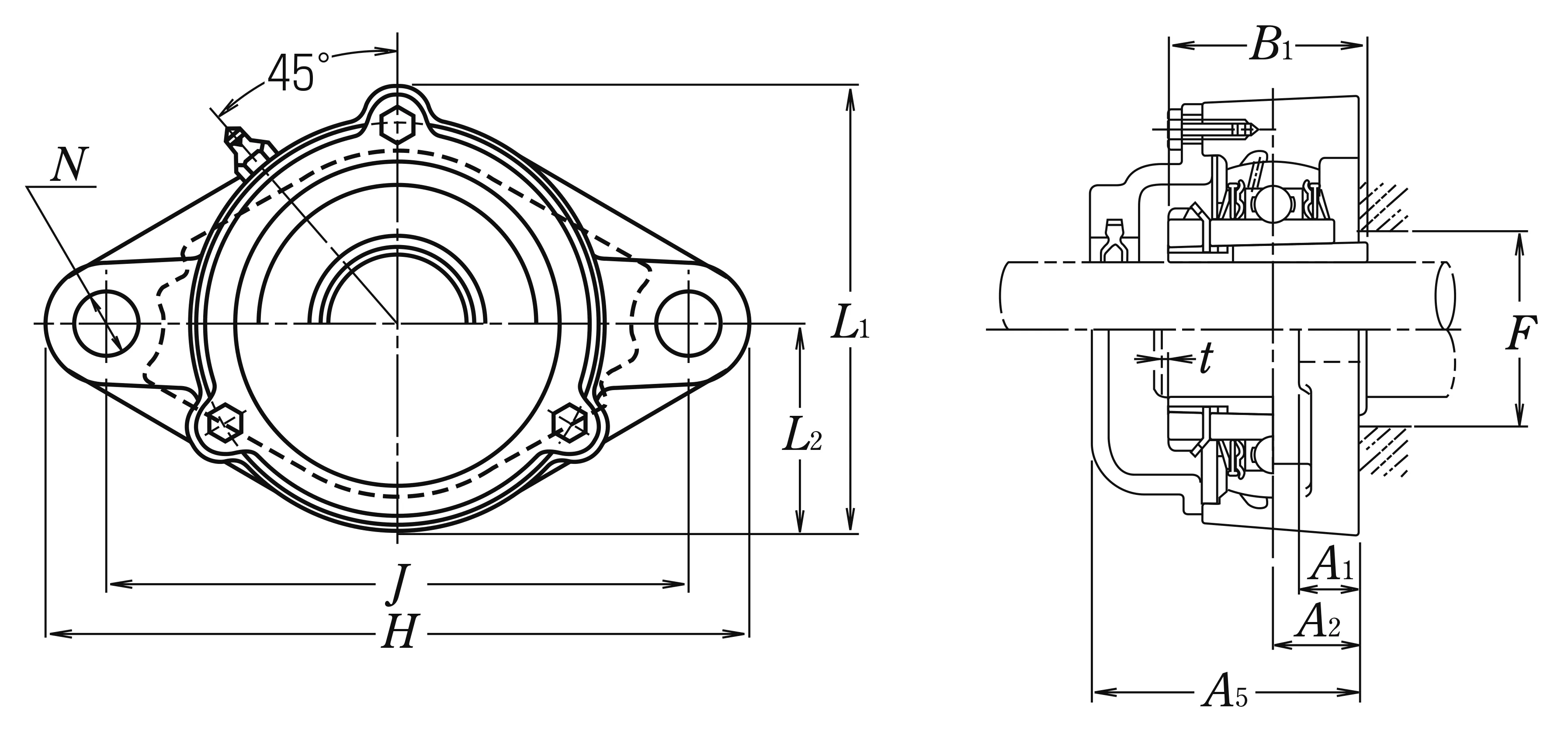
Nominal Dimensions

d 55 mm Bore diameter
L,L1 175 mm Overall height
J 212 mm Distance between attachment bolts
N 33 mm Diameter of attachment bolt hole
A2 33 mm Flange width
A1 22 mm Flange width
A5 100 mm Width including end cover
B,B1,B2 62 mm Width of inner ring
t 4 mm Clearance
H 270 mm Overall length
L2 80 mm Height of spherical seat centre

Mounting information

G M27 Bolt size

Basic Load Ratings

Cr 82 kN Basic dynamic load rating
C0r 52 kN Basic static load rating

Mass

mass 7.7 kg Mass approx.

Questions?

We are here to help.

admin@jfubearing.com

Get expert sales advice within 12 hours.

💬

+86-15961837791

Chat with us now for a quick response.

Contact us now to get a free quote or estimate.