C-UKFLX10D1-

Time:2025-11-25Edit:JFU Bearing
C-UKFLX10D1

C-UKFLX10D1

/uploads/pic/e1oztqywyud1947_20251120181155.webp

C-UKFLX10D1

Designations

C-UKFLX10D1

Included products

Bearing UKX10D1 Bearing
Housing FLX10D1 Housing

Associated products

Adapter sleeve H2310X Adapter sleeve

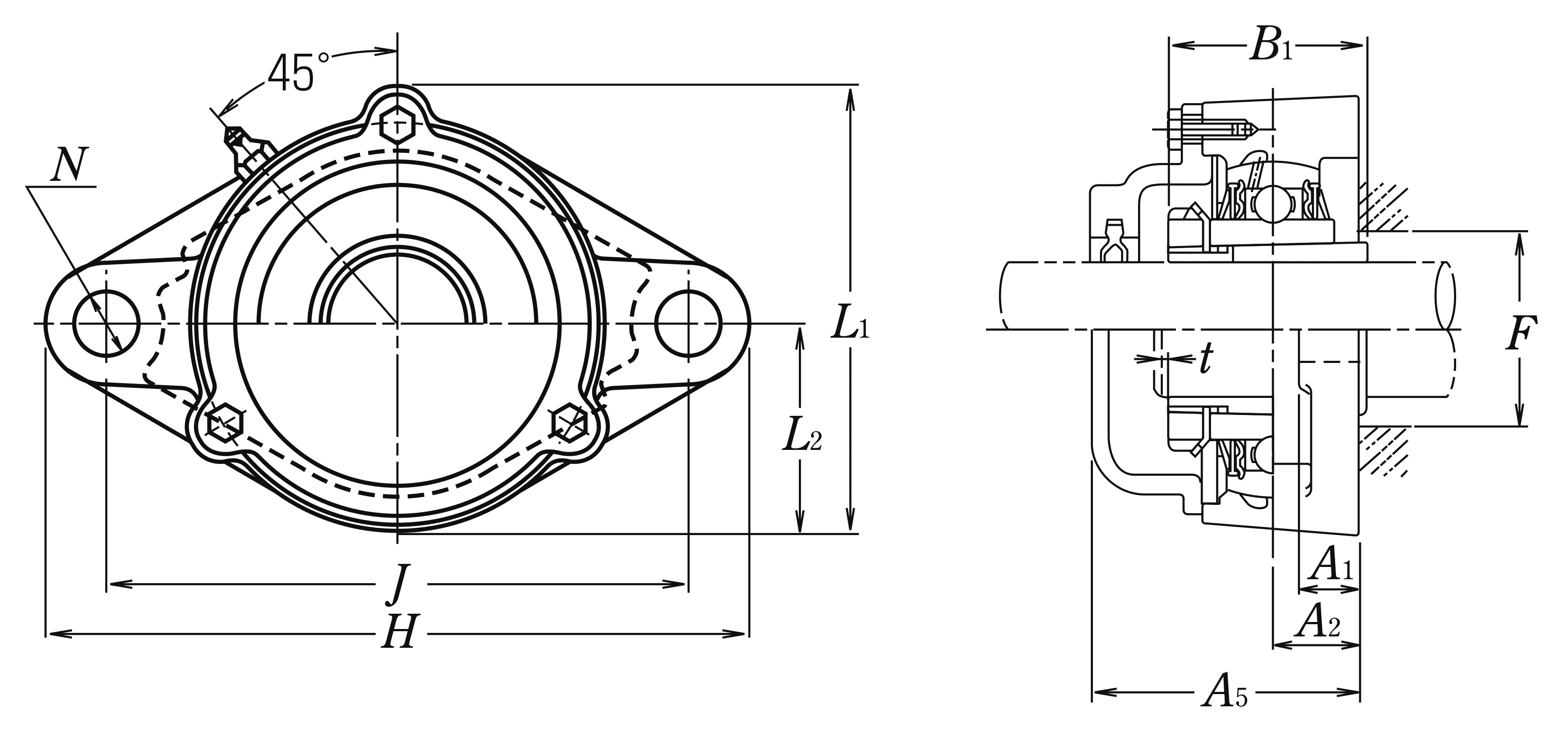
Nominal Dimensions

d 45 mm Bore diameter
L,L1 133.5 mm Overall height
J 184 mm Distance between attachment bolts
N 26 mm Diameter of attachment bolt hole
A2 26 mm Flange width
A1 18 mm Flange width
B,B1,B2 55 mm Width of inner ring
F 57 mm Diameter of housing abutment
t 3 mm Clearance
H 216 mm Overall length
L2 66.5 mm Height of spherical seat centre

Mounting information

G M16 Bolt size

Basic Load Ratings

Cr 43.5 kN Basic dynamic load rating
C0r 29.2 kN Basic static load rating

Mass

mass 3.6 kg Mass approx.

Questions?

We are here to help.

admin@jfubearing.com

Get expert sales advice within 12 hours.

💬

+86-15961837791

Chat with us now for a quick response.

Contact us now to get a free quote or estimate.