AS204 Series-

Time:2025-11-25Edit:JFU Bearing
AS204 Series

AS204 Series

/uploads/pic/li3gg5og2df2345_20251120200723.webp

AS204 Series

Designations

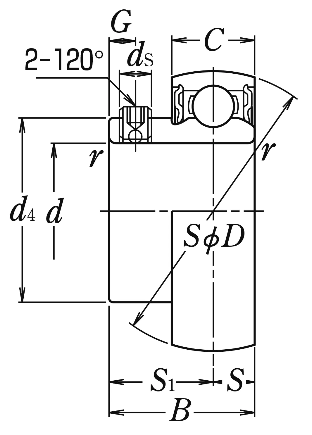
AS204

Included products

Bearing AS204 Bearing

Nominal Dimensions

d 20 mm Bore diameter
D 47 mm Outside diameter
B,B4 25 mm Width of inner ring
C 14 mm Outer ring width
r(min.) 1 mm Chamfer dimension
S1 18 mm Distance from locking device side face to raceway centre
G 4.2 mm Distance face to thread centre
ds M5×0.8 Set screw
d4 29.6 mm Outside diameter of inner ring

Basic Load Ratings

Cr 12.8 kN Basic dynamic load rating
C0r 6.65 kN Basic static load rating

Mass

Mass approx. 0.13 kg Mass approx.

Questions?

We are here to help.

admin@jfubearing.com

Get expert sales advice within 12 hours.

💬

+86-15961837791

Chat with us now for a quick response.

Contact us now to get a free quote or estimate.